技术指导-依爱应急疏散余压监控系统
应急疏散余压
监控系统
消防应急疏散余压监控系统通过余压探测器采集防烟楼梯或前室与消防通道间的余压值,通过无极性二总线上传至余压监控器,由监控器进行数据分析处理。当余压超过设定范围时,监控器发出声光报警信号并对报警部位进行显示和打印,同时监控器采用算法控制余压监控器实时调节风阀执行器角度,控制正压送风系统旁通阀的开启和关闭,保证余压值保持在安全范围内。
2015年5月正式实施的GB50016-2014《建筑设计防火规范》。
2018年8月正式实施的GB51251-2017《建筑防烟排烟系统技术标准》
隧道的避难设施内应设置独立的机械加压送风系统,其送风的余压值应为30Pa~50Pa。
机械加压送风量应满足走廊至前室至楼梯间的压力呈递增分布,余压值应符合下列要求:
1、前室、封闭避难层(间)与走道之间的压差应为25Pa~30Pa;
2、楼梯间与走道之间的压差应为40Pa~50Pa;
3、当系统余压值超过最大允许压力差时应采取泄压措施。最大允许压力差由本标准第3.4.9条计算确定。
机械加压送风系统宜设有测压装置及风压调节措施。
应按照GB50166-2019《火灾自动报警系统施工及验收标准》规定走弱电井(弱电架桥),以确保通信传输不受强电或射频信号干扰。
为保证通讯可靠性,监控器至余压控制器(S总线型)、余压探测器的信号线应按照GB50166中3.2.21要求采用 ZR-RVS-2*1.5mm²双绞线,通讯距离不超过1500米。
穿管、绝缘等要求见EI-JSJD-0-1《火灾自动报警联动等系统通用要求》。
为保证系统功能实现和正常运行,应严格按照“系统示意图”和“线路敷设及线缆选型”、GB50166等要求施工,注意事项如下:
监控器安装在消防控制室,主电源应取自消防电源AC220V/50HZ,严禁使用电源插头,接地应牢固。线路等要求详见《火灾自动报警联动等系统通用要求》。
EI-8360型余压监控器单回路可带载100只部件(余压探测器与余压控制器),系统最多可划分为64个控制分区(分区手自动可单独设置,每个分区内只能带一个执行器、一台余压控制器),每台监控器最多配置2块回路板(4个回路),可以带载4*100=400只部件。
余压探测器与余压控制器(S总线型)可使用PGM8000/8001编码器设置地址,也可通过监控器在线设置地址。
前室每层均设一只余压探测器,楼梯间在约1/3和 2/3高度处各设置一只余压探测器,引压用的气管可根据现场实际情况装于墙面或吸顶安装均可。
监控器DC24电源最多支持6只7W/24V(约300mA)的电动风阀执行器,超过该数量需要自行配置外控电源,执行器所需总电流=功率/电压*执行器个数。
备注:
建议根据实际布线要求决定是否从监控器取24V给余压控制器供电,如现场距离较远,可购买AC220转DC24V的电源转换器,从风机控制柜取220V转为24V进行供电。电源转换器的参数要求:
输入:AC220V,输出:DC24V, 功率:≥12W。
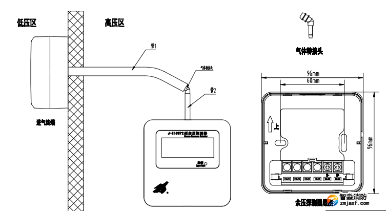
余压监控器一般安装于消控室,采用壁挂式安装。
余压探测器一般安装在前室和楼梯间,与走道侧的进气终端通过导气管相连。
具体安装方式见下图:
备注:
管1建议使用内径5mm,外径8mm的硅胶软管;管2建议使用内径2mm,外径4mm的。
硅胶管外应增加PVC管或其他保护性材料,避免硅胶硅胶管受到挤压或折弯变形。
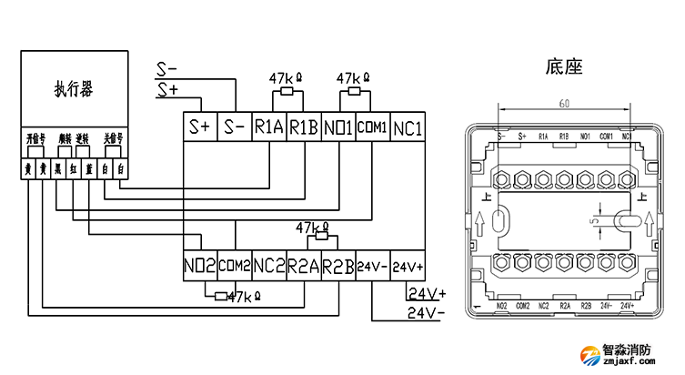
余压控制器一般安装于风机控制器内,其接线方式见图3:
备注:
电动执行器通过杆锥与泄压阀连接,杆锥的要求如下:超出泄压阀体部长度不小于60mm,直径:4-7mm。
24V断线:余压控制器24V断电。
总线短路:表示总线(回路型号线)存在短路。
未编:表示余压探测器或余压控制器(S总线型)没有进行编程,需要进入编程菜单进行编程。
编程类型错误:表示所接部件类型和实际编程部件类型不符。
信号线断线:表示余压控制器反馈线路断开或未接匹配电阻。
输出线断线:表示余压控制器与电动执行器间控制线路断线。



故障



江苏苏州智淼消防安装工程公司主营:北京消防施工安装,消防工程设计,消防维修改造,消防设备检测,消防验收代办,消防维修保养,探测器清洗,消防检测设备,智慧消防物联网,消防设备销售安装及调试为一体的正规化消防企业。消防改造网址:http://www.zmjaxf.com/;服务热线:4006-598-119








苏公网安备32058102002151号